Leitor de QR Code - QRC 232 E

Leitor de QR Code
Leitor de QR Code

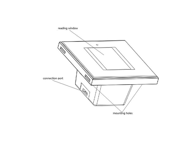
Descrição do Produto

Este leitor de códigos combina desempenho e praticidade, oferecendo leitura omnidirecional em 360° para códigos 1D e 2D com rapidez e precisão. Sua resolução de 640x480 e capacidade de leitura com contraste mínimo de 30% garantem alta acurácia mesmo em etiquetas desgastadas ou de baixa qualidade. Extremamente versátil, suporta mais de 20 padrões de códigos, sendo ideal para aplicações no varejo, saúde, logística e indústria. Com operação confiável em temperaturas de -20°C a +60°C e resistência a umidade de até 95% (sem condensação), mantém desempenho consistente em condições adversas. O design compacto e leve, com apenas 100g, facilita o uso contínuo e a instalação em diferentes cenários. A leitura sem contato, com profundidade de campo de até 100mm, aliada à alta velocidade de captura mesmo com objetos em movimento, proporciona agilidade no atendimento e na operação. Seu baixo consumo de energia, de apenas 1,2W, contribui para economia e eficiência no uso diário.

 

Principais Características

Equipado com sensor CMOS de 640x480 pixels, o leitor assegura captura precisa de imagens para códigos 1D e 2D. É compatível com todos os principais formatos 2D, incluindo QR Code, Data Matrix, PDF417 e Aztec, além de padrões 1D como EAN-13, Code 128 e UPC-A. A precisão de leitura atinge ou supera 7 milésimos de polegada, garantindo confiabilidade mesmo em códigos de alta densidade. Seu sistema suporta leitura em qualquer orientação, com rotação total de 360° e tolerância a inclinações de até 30° em pitch e skew, adaptando-se a diferentes ângulos de apresentação. Funciona em ambientes com ampla faixa de iluminação, de 0 a 100.000 lux, sem perda de desempenho. A interface de alimentação USB padrão (5V DC) simplifica a integração a sistemas existentes, enquanto o circuito otimizado mantém consumo máximo de 1,2W e corrente operacional de 200mA, assegurando eficiência energética.

Principais Características

Parâmetro Valor Observação
Modo de leitura CMOS Tipo de sensor
Resolução 640x480
Tipos de código (2D) QR Code, Micro QR, Mirror QR, PDF417, MicroPDF417, HANXIN, Data Matrix (ECC 200), Aztec
Tipos de código (1D) Code11, Code39, Code93, Code128, EAN-13, EAN-8, UPC-A, UPC-E, Codabar, Interleaved 2 of 5, Matrix 2 of 5, Industrial 2 of 5, MSI, GS1 Databar
Precisão de leitura ≥ 7 mil mil = milésimos de polegada
Profundidade de leitura 0 mm ~ 100 mm
Contraste mínimo de impressão ≥ 30%
Sensibilidade à rotação 360° @ 0° de inclinação (Pitch) e torção (Skew)
Sensibilidade à inclinação 30° @ 0° de rotação (Roll) e inclinação (Pitch)
Sensibilidade à deflexão 30° @ 0° de rotação (Roll) e torção (Skew)
Intensidade da luz ambiente 0 ~ 100.000 LUX
Consumo máximo de energia 1,2 W
Tensão 5 V
Corrente máxima 240 mA
Corrente de operação 200 mA
Peso 100 g
Temperatura de operação -20 ℃ a +60 ℃
Temperatura de armazenamento -40 ℃ a +80 ℃
Umidade de operação 5% a 95% (sem condensação)
Largura 61,2 mm Dimensão física
Altura 65 mm
Profundidade 29,5 mm
Conheça as todos os hardwares
Documentos

Faça download dos documentos relacionados a esta solução:

Preencha os dados para ter
acesso ao conteúdo!

Câmeras com recursos de Inteligência artificial para reconhecimento facial, compatível com o sistema de acesso Accelero da longrade.

CAPTCHA
This question is for testing whether or not you are a human visitor and to prevent automated spam submissions.